品牌展示
- YUKEN油研液壓
- REXROTH液壓泵
- VICKERS液壓油泵
- DAIKIN液壓油泵
- PARKER液壓油泵
- NACHI液壓油泵
- DENISON液壓油泵
- Marzocchi齒輪泵
- Sumitomo齒輪泵
- Danfoss液壓泵
- Berarma葉片泵
- YEOSHE液壓泵
- 東京計器液壓泵
- SALAMI齒輪油泵
- VIVOIL齒輪油泵
- CASAPPA齒輪泵
- Caproni齒輪油泵
- Bucher齒輪泵
- HESPER齒輪泵
- HYDAC齒輪泵
- Roquet齒輪泵
- Bondioli齒輪泵
- Jihostroj齒輪泵
- Duplomatic迪普馬
- METARIS齒輪泵
- ATOS齒輪油泵
- KRACHT齒輪泵
- Brevini齒輪油泵
- RONZIO齒輪泵
- 沃爾沃齒輪泵
- Commercial液壓泵
- LINDE液壓油泵
- HAWE液壓油泵
- Kawasaki液壓泵
- 赫格隆液壓馬達
- 力士樂減速機
- 其他品牌
- 維修服務
最新動態

手機:13686884195
電話:0755-29874345
QQ:2737435508
2737435508@qq.com

MDR系列hidraulica um plopeni(HP)齒輪泵
品牌類型:
發布時間:
其他品牌
2022-07-02 14:23:44
溫馨提示:由于產品型號太多,網站只能列出部分產品信息。如您在網站中未能找到您需要的型號,請咨詢我們的在線客服!
咨詢熱線:0755-29874345、0755-29874345
詳情介紹
MDR系列齒輪泵


>>型號齊全,現貨供應,規格齊全。。歡迎來電咨詢。。。
施工
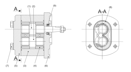
由Hidraulica UM Plopeni生產的齒輪電機幾乎與齒輪泵相同,主要由一對齒輪組成,(1)和(2),它們在由軸承襯套(4)支撐的殼體(3)。蓋子(5)和法蘭(6)通過螺釘(7)與主體連接在一起。密封環(8)和旋轉箍(9)提供結構的密封。
組裝和培訓
為了確定驅動方向,發動機從驅動軸看起來。它在泵標簽上用箭頭標出。驅動條件(聯軸器類型,允許應力)與類似泵的相同。
液壓環境
將使用添加劑高壓礦物油,例如在SR 9691:94之后。
工作條件下的運動粘度應在12-700mm 2 / s之間 - 優選在20-100mm 2 / s之間。啟動時,允許2000 mm2 / s。液壓回路中必須存在最大25μm的過濾器。
![【港隆液壓】液壓元件[液壓油泵,電磁閥] 一站式服務平臺](upload/20210127173032768281.png)





